Product Summary
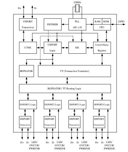
The GL850A is a low-power HUB controller.
Parametrics
GL850A absolute maximum ratings: (1)power supply: 3.6V; (2)input voltage for digital pins: 3.6V; (3)input voltage for digital I/O pins: 5.25V; (4)storage temperature: -65 to 100℃.
Features
GL850A features: (1)Compliant to USB specification Revision 2.0 : 4 downstream ports ; Upstream port supports both high-speed (HS) and full-speed (FS) traffic ;Downstream ports support HS, FS, and low-speed (LS) traffic ;1 control pipe (endpoint 0, 64-byte data payload) and 1 interrupt pipe (endpoint 1, 1-byte data payload) ;Backward compatible to USB specification Revision 1.1 ; (2)On-chip 8-bit micro-processor : RISC-like architecture ;USB optimized instruction set ; Dual cycle instruction execution ; Performance: 6 MIPS @ 12MHz ;With 64-byte RAM and 2K internal ROM ;Support customized PID, VID by reading external EEPROM; Support downstream port configuration by reading external EEPROM; (3)Each downstream port supports two-color status indicator, with automatic and manual modes compliant to ; (4)USB specification Revision 2.0 ; (5)Support both individual and gang modes of power management and over-current detection for.
Diagrams

| Image | Part No | Mfg | Description | ![]() |
Pricing (USD) |
Quantity | ||||
|---|---|---|---|---|---|---|---|---|---|---|
![]() |
![]() GL850A |
![]() Other |
![]() |
![]() Data Sheet |
![]() Negotiable |
|
||||
| Image | Part No | Mfg | Description | ![]() |
Pricing (USD) |
Quantity | ||||
![]() |
![]() GL850 |
![]() Other |
![]() |
![]() Data Sheet |
![]() Negotiable |
|
||||
![]() |
![]() GL850A |
![]() Other |
![]() |
![]() Data Sheet |
![]() Negotiable |
|
||||
![]() |
![]() GL850G |
![]() Other |
![]() |
![]() Data Sheet |
![]() Negotiable |
|
||||
![]() |
![]() GL852 |
![]() Other |
![]() |
![]() Data Sheet |
![]() Negotiable |
|
||||
(Hong Kong)









