Product Summary
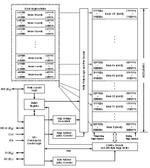
The W25Q64BVSSIG (64M-bit) Serial Flash memory provides a storage solution for systems with limited space, pins and power. The W25Q64BVSSIG offers flexibility and performance well beyond ordinary Serial Flash devices. The W25Q64BVSSIG is ideal for code shadowing to RAM, executing code directly from Dual/Quad SPI (XIP) and storing voice, text and data. The W25Q64BVSSIG operates on a single 2.7V to 3.6V power supply with current consumption as low as 4mA active and 1μA for power-down. The W25Q64BVSSIG is offered in spacesaving packages.
Parametrics
W25Q64BVSIG absolute maximum ratings: (1)Supply Voltage VCC: –0.6 to +4.0 V; (2)Voltage Applied to Any Pin VIO Relative to Ground: –0.6 to VCC+0.4 V; (3)Transient Voltage on any Pin VIOT <20nS Transient Relative to Ground: –2.0V to VCC+2.0V V; (4)Storage Temperature TSTG: –65 to +150 °C; (5)Electrostatic Discharge Voltage VESD Human Body Model: –2000 to +2000 V.
Features
W25Q64BVSIG features: (1)Family of SpiFlash Memories: W25Q64BV: 64M-bit / 8M-byte (8,388,608); 256-bytes per programmable page; (2)Standard, Dual or Quad SPI:Standard SPI: CLK, /CS, DI, DO, /WP, /Hold; Dual SPI: CLK, /CS, IO0, IO1, /WP, /Hold; Quad SPI: CLK, /CS, IO0, IO1, IO2, IO3; (3)Highest Performance Serial Flash: Up to 6X that of ordinary Serial Flash; (4)Efficient continuous Read Mode: Low Instruction overhead; As few as 8 clocks to address memory; Allows true XIP (execute in place) operation; Outperforms X16 Parallel Flash.
Diagrams

![]() |
![]() W25Q128BVEIG |
![]() |
![]() IC SPI FLASH 128MBIT 8WSON |
![]() Data Sheet |
![]() Negotiable |
|
||||||||||||||||||||||
![]() |
![]() W25Q128FVEIG |
![]() |
![]() IC FLASH SPI 128MBIT 8WSON |
![]() Data Sheet |
![]()
|
|
||||||||||||||||||||||
![]() |
![]() W25Q128FVFIG |
![]() |
![]() IC FLASH SPI 128MBIT 16SOIC |
![]() Data Sheet |
![]()
|
|
||||||||||||||||||||||
![]() |
![]() W25Q128FVSIG |
![]() |
![]() IC FLASH SPI 128MBIT 8SOIC |
![]() Data Sheet |
![]()
|
|
||||||||||||||||||||||
![]() |
![]() W25Q16BVSFIG |
![]() |
![]() IC SPI FLASH 16MBIT 16SOIC |
![]() Data Sheet |
![]()
|
|
||||||||||||||||||||||
![]() |
![]() W25Q16BVSSIG |
![]() |
![]() IC SPI FLASH 16MBIT 8SOIC |
![]() Data Sheet |
![]()
|
|
||||||||||||||||||||||
(Hong Kong)









