Product Summary
The SAB80C537-N is a CMOS Single-Chip Microcontroller. The SAB80C537-N is a high-end member of the Siemens SAB 8051 family of microcontrollers. The SAB80C537-N is designed in Siemens ACMOS technology and based on the SAB 8051 architecture. ACMOS is a technology which combines high-speed and density characteristics with low-power consumption or dissipation.
Parametrics
SAB80C537-N absolute maximum ratings: (1)Ambient temperature under bias : 0 to 70 ℃; (2)Storage temperature TST : –65 to 150 ℃; (3)Voltage on VCC pins with respect to ground (VSS) : –0.5 V to 6.5 V; (4)Voltage on any pin with respect to ground (VSS) : –0.5 to VCC+0.5 V; (5)Input current on any pin during overload condition : –10mA to +10mA; (6)Absolute sum of all input currents during overload condition : |100mA|; (7)Power dissipation : 2 W.
Features
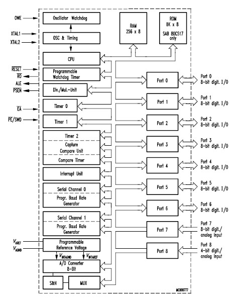
SAB80C537-N features: (1) Versions for 12 MHz and 16 MHz operating frequency; (2) 8 K x 8 ROM (SAB 80C517 only); (3) 256 x 8 on-chip RAM; (4) Four 16-bit timer/counters; (5) Powerful 16-bit compare/capture unit (CCU) with up to 21 high-speed or PWM output channels and 5 capture inputs; (6) Versatile "fail-safe" provisions; (7) Fast 32-bit division, 16-bit 2 multiplication, 32-bit normalize and shift by peripheral MUL/DIV unit (MDU); (8) Eight data pointers for external memory addressing; (9) Fourteen interrupt vectors, four priority levels selectable; (10) Two full duplex serial interfaces.
Diagrams

| Image | Part No | Mfg | Description | ![]() |
Pricing (USD) |
Quantity | ||||
|---|---|---|---|---|---|---|---|---|---|---|
![]() |
![]() SAB80C537-N |
![]() |
![]() IC MIRCROCONTROLLER 8BIT 84PLCC |
![]() Data Sheet |
![]() Negotiable |
|
||||
| Image | Part No | Mfg | Description | ![]() |
Pricing (USD) |
Quantity | ||||
![]() |
![]() SAB8032 |
![]() Other |
![]() |
![]() Data Sheet |
![]() Negotiable |
|
||||
![]() |
![]() SAB8032A |
![]() Other |
![]() |
![]() Data Sheet |
![]() Negotiable |
|
||||
![]() |
![]() SAB80515 |
![]() Other |
![]() |
![]() Data Sheet |
![]() Negotiable |
|
||||
![]() |
![]() SAB8085AH-2-P |
![]() Other |
![]() |
![]() Data Sheet |
![]() Negotiable |
|
||||
![]() |
![]() SAB8086 |
![]() Other |
![]() |
![]() Data Sheet |
![]() Negotiable |
|
||||
![]() |
![]() SAB8088 |
![]() Other |
![]() |
![]() Data Sheet |
![]() Negotiable |
|
||||
(Hong Kong)









